沉寂许久后,奶茶再次引发刷屏。
继京东JD+智能奶茶店停业后,章泽天又卸任一家刘强东旗下公司董事。
与此消息相伴的是各种猜测:奶茶店关了,婚房卖了,如今又卸任刘强东公司董事,章泽天真与刘强东玩完了?毕竟,自从“明尼苏达”事件后,刘、章两人已久未在公开场合露面。而年前,章泽天还以1350万澳元(约6556万人民币)的价格出售了位于悉尼的婚房;今年3月28日,有网友在香港艺术展偶遇到了章泽天,依旧是当年那个清纯的妹妹模样,但刘强东未陪同,细心网友发现章泽天当天未佩戴婚戒。

1
奶茶妹妹不喜欢“茶”了
章泽天这次卸任的是一家茶叶公司董事。
4月3日,章泽天卸任重庆嫩绿茶艺有限公司董事一职。天眼查数据显示,这家公司成立于2015年9月,注册资本3000余万元,经营范围包括食品生产、餐饮服务等,主打茶饮文化,刘强东通过北京因味电子科技有限公司间接持股。

奶茶不爱“茶”了,这已不是第一次。
早在今年2月,位于北京中关村创业大街的京东JD+智能奶茶馆宣布停业。据了解,JD+智能奶茶馆于2015年5月8日开业。开业当天,刘强东携章泽天一同现身。
除了提供茶饮,JD+智能奶茶店更大的作用是“创业孵化器”,配合京东金融业务中产品众筹、股权众筹的展开。对于JD+奶茶店停业,京东方面回应称,创业孵化器的形式发生了改变,京东根据市场环境的变化做出调整,选择关店。
奶茶不爱茶,忙什么去了?或许,章泽天的视线转移到了“母婴健康”。
全国企业信用信息公示系统显示,3月5日,一家名为“优齿乐”的健康用品公司多项企业信息发生变更,该公司新增投资人宿迁天强股权投资合伙企业(有限合伙)公司、董事备案新增章泽天。

另据天眼查信息,宿迁天强股权投资合伙对优齿乐的认缴出资额为375万元,持有该公司10.75%股权,而天强股权投的实控人为刘强东,出资1780.2万元,持股89.01%,第二大股东章泽天,持股9.99%,该公司主要从事非证券股权投资活动及相关咨询业务、投资管理、资产管理以及项目投资等。

刘强东夫妇看上的这家健康用品公司,注册于2018年12月13日,注册资本刚刚由3000万元变更为3487.5万元,法人刘晓坤兼任该公司董事长,公司经营范围包括卫生用品、日化办公用品等。
2
奶茶背后必有刘强东
2011年,章泽天就读清华大学。2014年4月14日,她与刘强东的恋情被媒体曝光,引起网友广泛关注。2015年10月1日,刘强东与章泽天在澳大利亚举行婚礼。次年3月24日下午,章泽天生子。

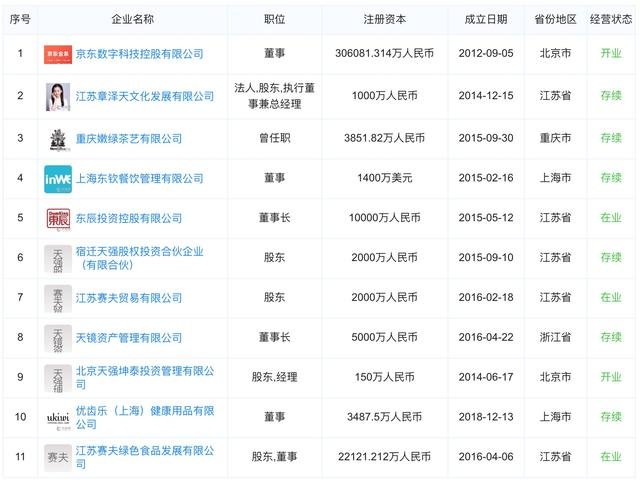
两人结婚后,章泽天作为京东的形象代言人开始了新的人生。除了参加节目和公益、频繁与刘强东出席各类活动外,奶茶还参与了不少投资。截至目前,与章泽天有关的公司有11家。不过,章泽天的投资背后必有刘强东。
自章泽天嫁给刘强东以来,夫妻二人总是如影随形,网上不乏章泽天以崇拜目光望向刘强东的同框照。章泽天不只是京东的门面,也是刘强东事业延伸的一只“手臂”。成为刘夫人后,章泽天出任京东的时尚品牌拓展顾问、京东公益基金会荣誉理事长,也摇身一变成为“知名投资人”。
早在刘强东章泽天正式结婚前,一家名为“江苏章泽天文化发展有限公司”在江苏宿迁登记成立,注册资本1000万元,章泽天100%控股。该公司的注册地点“江苏省宿迁市宿豫区京东信息科技园一期商业街”,是京东全国客服中心,宿迁也是刘强东时常挂在嘴边的老家,现在小天也成了宿迁媳妇儿。
截至目前,该公司没有发生任何投资行为,但从2015年到2017年1月,注册了多达130条包含“章泽天”“奶茶妹妹”“奶茶妈咪”“奶茶宝宝”“奶茶宝贝”等字样的商标,商标类型几乎覆盖了所有行业。
刘强东曾对外表态,不喜欢奶茶妹妹这个称呼,看来也不想“奶茶妹妹”为人所用。

3
章泽天的投资经
不包括章泽天刚刚退出的重庆嫩绿茶艺有限公司,有章泽天参与的公司还有9家,其中的“东辰投资控股有限公司”是章泽天主要的投资工具。
东辰投资控股有限公司注册于2015年5月,注册资本1亿元,主要从事股权投资、资产管理、投资管理等,注册地同样是宿迁。股东管理结构上,刘强东以出资5000万元占50%的股份成为实际控股人,法人代表是刘强东的好朋友、中关村在线股东施世林,章泽天则任公司董事长。
截至目前,东辰投资控股有限公司已经投资了10家公司,主要涉及互联网科技、医疗、商业服务领域,其中就有章泽天的“投资首秀”——北京知识印象科技有限公司,作业盒子是该公司的明星产品。作业盒子CEO刘夜曾评价章泽天,“她的逻辑能力让人吃惊”。
天眼查显示,东辰对作业盒子的投资数额仅有14.2万元。不过,作业盒子A轮融资名单显示,刘强东章泽天夫妇、联想之星和好未来合计投资1000万美元。实际上东辰投资的10家公司里,有五家投资数额都不超过100万,最高的是“天镜资产管理有限公司”,投资数额1500万,章泽天任董事长,但该公司目前没有任何投资项目。
除此之外,刘强东曾透露在滴滴壮大之前,章泽天投资过Uber,因此称赞小天有很强的商业敏感,“很优秀”;女儿出生后,章泽天的名字还出现在澳洲一家婴幼儿奶粉及辅食公司Bubs的投资人名单中。2017年,Bubs在澳交所借壳上市,是当年澳交所的第一只新股。
纵有丈夫撑腰,但外界并不买账,质疑章泽天今天所谓的成就全赖刘强东。与“王的女人”相比,网友认为田朴珺比奶茶妹妹强更像一个“独立女性”。